A journal of IEEE and CAA , publishes high-quality papers in English on original theoretical/experimental research and development in all areas of automation

Vol. 12,  No. 1, 2025

Display Method:
REVIEW
The Security of Using Large Language Models: A Survey With Emphasis on ChatGPT
Wei Zhou, Xiaogang Zhu, Qing-Long Han, Lin Li, Xiao Chen, Sheng Wen, Yang Xiang
2025, 12(1): 1-26. doi: 10.1109/JAS.2024.124983
Abstract(5769) HTML (64) PDF(556)
Abstract:
ChatGPT is a powerful artificial intelligence (AI) language model that has demonstrated significant improvements in various natural language processing (NLP) tasks. However, like any technology, it presents potential security risks that need to be carefully evaluated and addressed. In this survey, we provide an overview of the current state of research on security of using ChatGPT, with aspects of bias, disinformation, ethics, misuse, attacks and privacy. We review and discuss the literature on these topics and highlight open research questions and future directions. Through this survey, we aim to contribute to the academic discourse on AI security, enriching the understanding of potential risks and mitigations. We anticipate that this survey will be valuable for various stakeholders involved in AI development and usage, including AI researchers, developers, policy makers, and end-users.
PAPERS
A Novel Vibration-Based Self-Adapting Method to Acquire Real-Time Following Distance for Virtually Coupled Trains
Qinglai Zhang, Jianmin Gao, Qing Wu, Qinglie He, Libin Tie, Wanming Zhai, Shengyang Zhu
2025, 12(1): 27-39. doi: 10.1109/JAS.2024.124326
Abstract(712) HTML (5) PDF(62)
Abstract:
Virtual coupling (VC) is an emerging technology for addressing the shortage of rail transportation capacity. As a crucial enabling technology, the VC-specific acquisition of train information, especially train following distance (TFD), is underdeveloped. In this paper, a novel method is proposed to acquire real-time TFD by analyzing the vibration response of the front and following trains, during which only onboard accelerometers and speedometers are required. In contrast to the traditional arts of train positioning, this method targets a relative position between two adjacent trains in VC operation, rather than the global positions of the trains. For this purpose, an adaptive system containing three strategies is designed to cope with possible adverse factors in train operation. A vehicle dynamics simulation of a heavy-haul railway is implemented for the evaluation of feasibility and performance. Furthermore, a validation is conducted using a set of data measured from in-service Chinese high-speed trains. The results indicate the method achieves satisfactory estimation accuracy using both simulated and actual data. It has favorable adaptability to various uncertainties possibly encountered in train operation. Additionally, the method is preliminarily proven to adapt to different locomotive types and even different rail transportation modes. In general, such a method with good performance, low-cost, and easy implementation is promising to apply.
Event-Triggered Robust Parallel Optimal Consensus Control for Multiagent Systems
Qinglai Wei, Shanshan Jiao, Qi Dong, Fei-Yue Wang
2025, 12(1): 40-53. doi: 10.1109/JAS.2024.124773
Abstract(2717) HTML (14) PDF(126)
Abstract:
This paper highlights the utilization of parallel control and adaptive dynamic programming (ADP) for event-triggered robust parallel optimal consensus control (ETRPOC) of uncertain nonlinear continuous-time multiagent systems (MASs). First, the parallel control system, which consists of a virtual control variable and a specific auxiliary variable obtained from the coupled Hamiltonian, allows general systems to be transformed into affine systems. Of interest is the fact that the parallel control technique’s introduction provides an unprecedented perspective on eliminating the negative effects of disturbance. Then, an event-triggered mechanism is adopted to save communication resources while ensuring the system’s stability. The coupled Hamilton-Jacobi (HJ) equation’s solution is approximated using a critic neural network (NN), whose weights are updated in response to events. Furthermore, theoretical analysis reveals that the weight estimation error is uniformly ultimately bounded (UUB). Finally, numerical simulations demonstrate the effectiveness of the developed ETRPOC method.
Strong Current-State Opacity Verification of Discrete-Event Systems Modeled With Time Labeled Petri Nets
Tao Qin, Li Yin, Gaiyun Liu, Naiqi Wu, Zhiwu Li
2025, 12(1): 54-68. doi: 10.1109/JAS.2024.124560
Abstract(1013) HTML (13) PDF(84)
Abstract:
This paper addresses the verification of strong current-state opacity with respect to real-time observations generated from a discrete-event system that is modeled with time labeled Petri nets. The standard current-state opacity cannot completely characterize higher-level security. To ensure the higher-level security requirements of a time-dependent system, we propose a strong version of opacity known as strong current-state opacity. For any path (state-event sequence with time information) π derived from a real-time observation that ends at a secret state, the strong current-state opacity of the real-time observation signifies that there is a non-secret path with the same real-time observation as π. We propose general and non-secret state class graphs, which characterize the general and non-secret states of time-dependent systems, respectively. To capture the observable behavior of non-secret states, a non-secret observer is proposed. Finally, we develop a structure called a real-time concurrent verifier to verify the strong current-state opacity of time labeled Petri nets. This approach is efficient since the real-time concurrent verifier can be constructed by solving a certain number of linear programming problems.
Distributed Observer for Full-Measured Nonlinear Systems Based on Knowledge of FMCF
Haotian Xu, Shuai Liu, Yueyang Li, Ke Li
2025, 12(1): 69-85. doi: 10.1109/JAS.2024.124467
Abstract(1271) HTML (5) PDF(57)
Abstract:
Driven by practical applications, the achievement of distributed observers for nonlinear systems has emerged as a crucial advancement in recent years. However, existing theoretical advancements face certain limitations: They either fail to address more complex nonlinear phenomena, rely on hard-to-verify assumptions, or encounter difficulties in solving system parameters. Consequently, this paper aims to address these challenges by investigating distributed observers for nonlinear systems through the full-measured canonical form (FMCF), which is inspired by full-measured system (FMS) theory. To begin with, this study addresses the fact that the FMCF can only be obtained through the observable canonical form (OCF) in existing FMS theories. The paper demonstrates that a class of nonlinear systems can directly obtain FMCF through state space equations, independent of OCF. Also, a general method for solving FMCF in such systems is provided. Furthermore, based on the FMCF, A distributed observer is developed for nonlinear systems under two scenarios: Lipschitz conditions and open-loop bounded conditions. The paper establishes their asymptotic omniscience and demonstrates that the designed distributed observer in this study has fewer design parameters and is more convenient to construct than existing approaches. Finally, the effectiveness of the proposed methods is validated through simulation results on Van der Pol oscillators and microgrid systems.
Distributed Economic Dispatch Algorithms of Microgrids Integrating Grid-Connected and Isolated Modes
Zhongxin Liu, Yanmeng Zhang, Yalin Zhang, Fuyong Wang
2025, 12(1): 86-98. doi: 10.1109/JAS.2024.124695
Abstract(1687) HTML (6) PDF(67)
Abstract:
The economic dispatch problem (EDP) of microgrids operating in both grid-connected and isolated modes within an energy internet framework is addressed in this paper. The multi-agent leader-following consensus algorithm is employed to address the EDP of microgrids in grid-connected mode, while the push-pull algorithm with a fixed step size is introduced for the isolated mode. The proposed algorithm of isolated mode is proven to converge to the optimum when the interaction digraph of microgrids is strongly connected. A unified algorithmic framework is proposed to handle the two modes of operation of microgrids simultaneously, enabling our algorithm to achieve optimal power allocation and maintain the balance between power supply and demand in any mode and any mode switching. Due to the push-pull structure of the algorithm and the use of fixed step size, the proposed algorithm can better handle the case of unbalanced graphs, and the convergence speed is improved. It is documented that when the transmission topology is strongly connected and there is bi-directional communication between the energy router and its neighbors, the proposed algorithm in composite mode achieves economic dispatch even with arbitrary mode switching. Finally, we demonstrate the effectiveness and superiority of our algorithm through numerical simulations.
GPIO-Based Continuous Sliding Mode Control for Networked Control Systems Under Communication Delays With Experiments on Servo Motors
Kamal Rsetam, Zhenwei Cao, Zhihong Man, Xian-Ming Zhang
2025, 12(1): 99-113. doi: 10.1109/JAS.2024.124812
Abstract(1932) HTML (16) PDF(80)
Abstract:
To handle input and output time delays that commonly exist in many networked control systems (NCSs), a new robust continuous sliding mode control (CSMC) scheme is proposed for the output tracking in uncertain single input-single-output (SISO) networked control systems. This scheme consists of three consecutive steps. First, although the network-induced delay in those systems can be effectively handled by using Pade approximation (PA), the unmatched disturbance cames out as another difficulty in the control design. Second, to actively estimate this unmatched disturbance, a generalized proportional integral observer (GPIO) technique is utilized based on only one measured state. Third, by constructing a new sliding manifold with the aid of the estimated unmatched disturbance and states, a GPIO-based CSMC is synthesized, which is employed to cope with not only matched and unmatched disturbances, but also network-induced delays. The stability of the entire closed-loop system under the proposed GPIO-based CSMC is detailedly analyzed. The promising tracking efficiency and feasibility of the proposed control methodology are verified through simulations and experiments on Quanser’s servo module for motion control under various test conditions.
Detection of Perfect Stealthy Attacks on Cyber-Physical Systems Subject to Measurement Quantizations: A Watermark-Based Strategy
Yu-Ang Wang, Zidong Wang, Lei Zou, Bo Shen, Hongli Dong
2025, 12(1): 114-125. doi: 10.1109/JAS.2024.124815
Abstract(1181) HTML (22) PDF(135)
Abstract:
In this paper, the attack detection problem is investigated for a class of closed-loop systems subjected to unknown-but-bounded noises in the presence of stealthy attacks. The measurement outputs from the sensors are quantized before transmission. A specific type of perfect stealthy attack, which meets certain rather stringent conditions, is taken into account. Such attacks could be injected by adversaries into both the sensor-to-estimator and controller-to-actuator channels, with the aim of disrupting the normal data flow. For the purpose of defending against these perfect stealthy attacks, a novel scheme based on watermarks is developed. This scheme includes the injection of watermarks (applied to data prior to quantization) and the recovery of data (implemented before the data reaches the estimator). The watermark-based scheme is designed to be both time-varying and hidden from adversaries through incorporating a time-varying and bounded watermark signal. Subsequently, a watermark-based attack detection strategy is proposed which thoroughly considers the characteristics of perfect stealthy attacks, thereby ensuring that an alarm is activated upon the occurrence of such attacks. An example is provided to demonstrate the efficacy of the proposed mechanism for detecting attacks.
Interference Suppression and Jitter Elimination Ability-Based Adaption Tracking Guidance for Robotic Fishes
Dongfang Li, Jie Huang, Rob Law, Xin Xu, Limin Zhu, Edmond Q. Wu
2025, 12(1): 126-137. doi: 10.1109/JAS.2024.124632
Abstract(1034) HTML (8) PDF(56)
Abstract:
This work presents an adaptive tracking guidance method for robotic fishes. The scheme enables robots to suppress external interference and eliminate motion jitter. An adaptive integral surge line-of-sight guidance rule is designed to eliminate dynamics interference and sideslip issues. Limited-time yaw and surge speed observers are reported to fit disturbance variables in the model. The approximation values can compensate for the system’s control input and improve the robots’ tracking accuracy. Moreover, this work develops a terminal sliding mode controller and third-order differential processor to determine the rotational torque and reduce the robots’ run jitter. Then, Lyapunov’s theory proves the uniform ultimate boundedness of the proposed method. Simulation and physical experiments confirm that the technology improves the tracking error convergence speed and stability of robotic fishes.
On Resilience Against Cyber-Physical Uncertainties in Distributed Nash Equilibrium Seeking Strategies for Heterogeneous Games
Maojiao Ye
2025, 12(1): 138-147. doi: 10.1109/JAS.2024.124803
Abstract(1531) HTML (12) PDF(110)
Abstract:
This paper designs distributed Nash equilibrium seeking strategies for heterogeneous dynamic cyber-physical systems. In particular, we are concerned with parametric uncertainties in the control channel of the players. Moreover, the weights on communication links can be compromised by time-varying uncertainties, which can result from possibly malicious attacks, faults and disturbances. To deal with the unavailability of measurement of optimization errors, an output observer is constructed, based on which adaptive laws are designed to compensate for physical uncertainties. With adaptive laws, a new distributed Nash equilibrium seeking strategy is designed by further integrating consensus protocols and gradient search algorithms. Moreover, to further accommodate compromised communication weights resulting from cyber-uncertainties, the coupling strengths of the consensus module are designed to be adaptive. As a byproduct, the coupling strengths are independent of any global information. With theoretical investigations, it is proven that the proposed strategies are resilient to these uncertainties and players’ actions are convergent to the Nash equilibrium. Simulation examples are given to numerically validate the effectiveness of the proposed strategies.
Adaptive Control of a Flexible Manipulator With Unknown Hysteresis and Intermittent Actuator Faults
Shouyan Chen, Weitian He, Zhijia Zhao, Yun Feng, Zhijie Liu, Keum-Shik Hong
2025, 12(1): 148-158. doi: 10.1109/JAS.2024.124653
Abstract(1828) HTML (14) PDF(58)
Abstract:
In this study, we consider a single-link flexible manipulator in the presence of an unknown Bouc-Wen type of hysteresis and intermittent actuator faults. First, an inverse hysteresis dynamics model is introduced, and then the control input is divided into an expected input and an error compensator. Second, a novel adaptive neural network-based control scheme is proposed to cancel the unknown input hysteresis. Subsequently, by modifying the adaptive laws and local control laws, a fault-tolerant control strategy is applied to address uncertain intermittent actuator faults in a flexible manipulator system. Through the direct Lyapunov theory, the proposed scheme allows the state errors to asymptotically converge to a specified interval. Finally, the effectiveness of the proposed scheme is verified through numerical simulations and experiments.
K-Corruption Intermittent Attacks for Violating the Codiagnosability
Ruotian Liu, Yihui Hu, Agostino Marcello Mangini, Maria Pia Fanti
2025, 12(1): 159-172. doi: 10.1109/JAS.2024.124680
Abstract(517) HTML (13) PDF(35)
Abstract:
In this work, we address the codiagnosability analysis problem of a networked discrete event system under malicious attacks. The considered system is modeled by a labeled Petri net and is monitored by a series of sites, in which each site possesses its own set of sensors, without requiring communication among sites or to any coordinators. A net is said to be codiagnosable with respect to a fault if at least one site could deduce the occurrence of this fault within finite steps. In this context, we focus on a type of malicious attack that is called stealthy intermittent replacement attack. The stealthiness demands that the corrupted observations should be consistent with the system’s normal behavior, while the intermittent replacement setting entails that the replaced transition labels must be recovered within a bounded of consecutive corrupted observations (called as K-corruption intermittent attack). Particularly, there exists a coordination between attackers that are separately effected on different sites, which holds the same corrupted observation for each common transition under attacks. From an attacker viewpoint, this work aims to design K-corruption intermittent attacks for violating the codiagnosability of systems. For this purpose, we propose an attack automaton to analyze K-corruption intermittent attack for each site, and build a new structure called complete attack graph that is used to analyze all the potential attacked paths. Finally, an algorithm is inferred to obtain the K-corruption intermittent attacks, and examples are given to show the proposed attack strategy.
Compensation for Heterogeneous Unknowns and Performance-Prescribed Consensus
Linzhen Yu, Yungang Liu
2025, 12(1): 173-182. doi: 10.1109/JAS.2024.124794
Abstract(879) HTML (13) PDF(58)
Abstract:
In this paper, the multi-agent systems (MASs) typically with heterogeneous unknown nonlinearities and nonidentical unknown control coefficients are studied. Although the model information of MASs is coarse, the leader-following consensus is still pursued, with a prescribed performance and zero consensus errors. Leveraging a powerful funnel control strategy, a fully distributed and completely relative-state-dependent protocol is designed. Distinctively, the time-varying function characterizing the performance boundary is introduced, not only to construct the funnel gains but also as an indispensable part of the protocol, enhancing the control ability and enabling the consensus errors to converge to zero (rather than a residual set). Remark that when control directions are unknown, coexisting with inherent system nonlinearities, it is essential to incorporate an additional compensation mechanism while imposing a hierarchical structure of communication topology for the control design and analysis. Simulation examples are given to illustrate the effectiveness of the theoretical results.
Chattering-Free Fault-Tolerant Cluster Control and Fault Direction Identification for HIL UAV Swarm With Pre-Specified Performance
Pei-Ming Liu, Xiang-Gui Guo, Jian-Liang Wang, Daniel Coutinho, Lihua Xie
2025, 12(1): 183-197. doi: 10.1109/JAS.2024.124827
Abstract(974) HTML (7) PDF(90)
Abstract:
In this paper, the problem of pre-specified performance fault-tolerant cluster consensus control and fault direction identification is solved for the human-in-the-loop (HIL) swarm unmanned aerial vehicles (UAVs) in the presence of possible nonidentical and unknown direction faults (NUDFs) in the yaw channel. The control strategy begins with the design of a pre-specified performance event-triggered observer for each individual UAV. These observers estimate the outputs of the human controlled UAVs, and simultaneously achieve the distributed design of actual control signals as well as cluster consensus of the observer output. It is worth mentioning that these observers require neither the high-order derivatives of the human controlled UAVs’ output nor a priori knowledge of the initial conditions. The fault-tolerant controller realizes the pre-specified performance output regulation through error transformation and the Nussbaum function. It should be pointed out that there are no chattering caused by the jump of the Nussbaum function when a reverse fault occurs. In addition, to provide a basis for further solving the problem of physical malfunctions, a fault direction identification algorithm is proposed to accurately identify whether a reverse fault has occurred. Simulation results verify the effectiveness of the proposed control and fault direction identification strategies when the reverse faults occur.
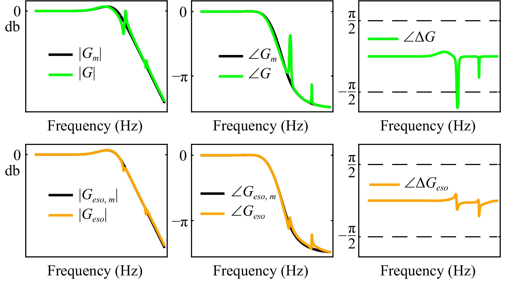
Beyond Performance of Learning Control Subject to Uncertainties and Noise: A Frequency-Domain Approach Applied to Wafer Stages
Fazhi Song, Ning Cui, Shuaiqi Chen, Kai Zhang, Yang Liu, Xinkai Chen, Jiubin Tan
2025, 12(1): 198-214. doi: 10.1109/JAS.2024.124968
Abstract(1954) HTML (71) PDF(71)
Abstract:
The increasingly stringent performance requirement in integrated circuit manufacturing, characterized by smaller feature sizes and higher productivity, necessitates the wafer stage executing a extreme motion with the accuracy in terms of nanometers. This demanding requirement witnesses a widespread application of iterative learning control (ILC), given the repetitive nature of wafer scanning. ILC enables substantial performance improvement by using past measurement data in combination with the system model knowledge. However, challenges arise in cases where the data is contaminated by the stochastic noise, or when the system model exhibits significant uncertainties, constraining the achievable performance. In response to this issue, an extended state observer (ESO) based adaptive ILC approach is proposed in the frequency domain. Despite being model-based, it utilizes only a rough system model and then compensates for the resulting model uncertainties using an ESO, thereby achieving high robustness against uncertainties with minimal modeling effort. Additionally, an adaptive learning law is developed to mitigate the limited performance in the presence of stochastic noise, yielding high convergence accuracy yet without compromising convergence speed. Simulation and experimental comparisons with existing model-based and data-driven inversion-based ILC validate the effectiveness as well as the superiority of the proposed method.
Online Fault-Tolerant Tracking Control With Adaptive Critic for Nonaffine Nonlinear Systems
Ding Wang, Lingzhi Hu, Xiaoli Li, Junfei Qiao
2025, 12(1): 215-227. doi: 10.1109/JAS.2024.124989
Abstract(802) HTML (8) PDF(84)
Abstract:
In this paper, a fault-tolerant-based online critic learning algorithm is developed to solve the optimal tracking control issue for nonaffine nonlinear systems with actuator faults. First, a novel augmented plant is constructed by fusing the system state and the reference trajectory, which aims to transform the optimal fault-tolerant tracking control design with actuator faults into the optimal regulation problem of the conventional nonlinear error system. Subsequently, in order to ensure the normal execution of the online learning algorithm, a stability criterion condition is created to obtain an initial admissible tracking policy. Then, the constructed model neural network (NN) is pretrained to recognize the system dynamics and calculate trajectory control. The critic and action NNs are constructed to output the approximate cost function and approximate tracking control, respectively. The Hamilton-Jacobi-Bellman equation of the error system is solved online through the action-critic framework. In theoretical analysis, it is proved that all concerned signals are uniformly ultimately bounded according to the Lyapunov principle. The tracking control law can approach the optimal tracking control within a finite approximation error. Finally, two experimental examples are conducted to indicate the effectiveness and superiority of the developed fault-tolerant tracking control scheme.
An Online Exploratory Maximum Likelihood Estimation Approach to Adaptive Kalman Filtering
Jiajun Cheng, Haonan Chen, Zhirui Xue, Yulong Huang, Yonggang Zhang
2025, 12(1): 228-254. doi: 10.1109/JAS.2024.125001
Abstract(1562) HTML (23) PDF(204)
Abstract:
Over the past few decades, numerous adaptive Kalman filters (AKFs) have been proposed. However, achieving online estimation with both high estimation accuracy and fast convergence speed is challenging, especially when both the process noise and measurement noise covariance matrices are relatively inaccurate. Maximum likelihood estimation (MLE) possesses the potential to achieve this goal, since its theoretical accuracy is guaranteed by asymptotic optimality and the convergence speed is fast due to weak dependence on accurate state estimation. Unfortunately, the maximum likelihood cost function is so intricate that the existing MLE methods can only simply ignore all historical measurement information to achieve online estimation, which cannot adequately realize the potential of MLE. In order to design online MLE-based AKFs with high estimation accuracy and fast convergence speed, an online exploratory MLE approach is proposed, based on which a mini-batch coordinate descent noise covariance matrix estimation framework is developed. In this framework, the maximum likelihood cost function is simplified for online estimation with fewer and simpler terms which are selected in a mini-batch and calculated with a backtracking method. This maximum likelihood cost function is sidestepped and solved by exploring possible estimated noise covariance matrices adaptively while the historical measurement information is adequately utilized. Furthermore, four specific algorithms are derived under this framework to meet different practical requirements in terms of convergence speed, estimation accuracy, and calculation load. Abundant simulations and experiments are carried out to verify the validity and superiority of the proposed algorithms as compared with existing state-of-the-art AKFs.
LETTERS
Predefined-Time Constrained Optimization of Multi-Agent Systems Under Impulsive Effects
Zhuyan Jiang, Xiaoyang Liu, Xiang Jiang, Jinde Cao
2025, 12(1): 255-257. doi: 10.1109/JAS.2024.124710
Abstract(527) HTML (7) PDF(88)
Abstract:
Joint Probabilistic Scheduling and Resource Allocation for Wireless Networked Control Systems
Meng Zheng, Lei Zhang, Wei Liang
2025, 12(1): 258-260. doi: 10.1109/JAS.2024.124707
Abstract(1130) HTML (24) PDF(47)
Abstract:
Distributed State and Fault Estimation for Cyber-Physical Systems Under DoS Attacks
Limei Liang, Rong Su, Haotian Xu
2025, 12(1): 261-263. doi: 10.1109/JAS.2024.124527
Abstract(800) HTML (3) PDF(76)
Abstract:
Self-Triggered Impulsive Control for Nonlinear Stochastic Systems
Tao Zhan, Yi Ji, Yabin Gao, Hongyi Li, Yuanqing Xia
2025, 12(1): 264-266. doi: 10.1109/JAS.2024.124581
Abstract(380) HTML (9) PDF(53)
Abstract:
Interpretable Data-Driven Learning With Fast Ultrasonic Detection for Battery Health Estimation
Kailong Liu, Yuhang Liu, Qiao Peng, Naxin Cui, Chenghui Zhang
2025, 12(1): 267-269. doi: 10.1109/JAS.2024.124722
Abstract(698) HTML (12) PDF(38)
Abstract:
The H Robust Stability and Performance Conditions for Uncertain Robot Manipulators
Geun Il Song, Hae Yeon Park, Jung Hoon Kim
2025, 12(1): 270-272. doi: 10.1109/JAS.2024.124701
Abstract(566) HTML (20) PDF(87)
Abstract:
Deep Synchronization Control of Grid-Forming Converters: A Reinforcement Learning Approach
Zhuorui Wu, Meng Zhang, Bo Fan, Yang Shi, Xiaohong Guan
2025, 12(1): 273-275. doi: 10.1109/JAS.2024.124824
Abstract(817) HTML (4) PDF(67)
Abstract:
Physical Layer Security Scheme With AoI-Awareness for Industrial IoT Based on Covert Communications
Yaping Li, Zhi-Xin Liu, Jia-Wei Su, Ya-Zhou Yuan
2025, 12(1): 276-278. doi: 10.1109/JAS.2024.124770
Abstract(481) HTML (5) PDF(26)
Abstract:
Data-Driven Fault-Tolerant Bipartite Consensus Tracking for Multi-Agent Systems With a Non-Autonomous Leader
Yan Zhou, Guanghui Wen, Jialing Zhou, Tao Yang
2025, 12(1): 279-281. doi: 10.1109/JAS.2024.124719
Abstract(459) HTML (9) PDF(49)
Abstract:
An Improved Repetitive-Control System Using a Complex-Coefficient Filter
Qicheng Mei, Jinhua She, Fei Long, Yanjun Shen
2025, 12(1): 282-284. doi: 10.1109/JAS.2024.124554
Abstract(385) HTML (5) PDF(56)
Abstract:
Output Consensus of Heterogeneous Linear MASs via Adaptive Event-Triggered Feedback Combination Control
Shuo Yuan, Chengpu Yu, Jian Sun
2025, 12(1): 285-287. doi: 10.1109/JAS.2024.124725
Abstract(537) HTML (7) PDF(589)
Abstract:
Local Search-Based Anytime Algorithms for Continuous Distributed Constraint Optimization Problems
Xin Liao, Khoi Hoang, Xin Luo
2025, 12(1): 288-290. doi: 10.1109/JAS.2024.124413
Abstract(465) HTML (12) PDF(34)
Abstract:
Stability and Stabilization of Sampled-Data Based LFC for Power Systems: A Data-Driven Method
Yu-Long Fan, Chuan-Ke Zhang, Yong He
2025, 12(1): 291-293. doi: 10.1109/JAS.2024.124740
Abstract(414) HTML (5) PDF(50)
Abstract:
Time-Varying Formation Tracking Control of Heterogeneous Multi-Agent Systems With Intermittent Communications and Directed Switching Networks
Yuhan Wang, Zhuping Wang, Hao Zhang, Huaicheng Yan
2025, 12(1): 294-296. doi: 10.1109/JAS.2023.123924
Abstract(460) HTML (4) PDF(90)
Abstract: